行业动态

了解最新公司动态及行业资讯

污染土壤破碎混合修复装置的工作原理和结构图

2017-10-10 02:13:30 166 编辑:admin 来源:本站
    上一篇我们讲了污染土壤破碎混合修复装置的技术原理,这一篇,我们根据结构图来详细说明污染土壤破碎混合修复装置的工作原理和结构原理
    图 1 是污染土壤破碎混合修复装置的结构示意图。
    图 2 是污染土壤破碎混合修复装置的破碎装置的结构示意图。
    图 3 是本实用新型中物料搅拌输送装置的结构示意图。
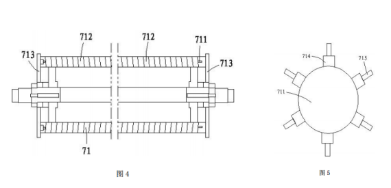
    图 4 是本污染土壤破碎混合修复装置中磁分离装置的结构示意图。
    图 5 是本实用新型中磁分离装置的局部示意图。
  污染土壤破碎混合修复装置的结构示意图污染土壤破碎混合修复装置的破碎装置的结构示意图污染土壤破碎混合修复装置中磁分离装置的结构示意图
    1、结构原理
    请参阅图1至图5所示,一种污染土壤破碎混合修复装置,包括一车体1,所述车体1 上依次设置有土壤输送装置 2 和物料搅拌输送装置 3 ;所述物料搅拌输送装置 3 的进料斗31 上设置有一破碎装置 4,所述土壤输送装置 2 包括 :切土铲 21、第一输送机 22 和物料提升装置 23,所述切土铲 21 尾端下部设置所述第一输送机 22,所述物料提升装置 23 与切土铲 21 连接,且物料提升装置 23 位于第一输送机 22 上 ;所述破碎装置 4 包括 :一外壳 41 和第一电机 42,所述外壳 41 内设置有一铣刀辊 43,该外壳 41 上设有进料斗 44,外壳 41 下方设置有格栅孔筛网出口 45 ;所述进料斗 44 内设置有一破拱叶桨 46,该外壳 41 侧壁设有一大石块出料口 47,所述大石块出料口 47 和铣刀辊 43 之间设置有一压土器 48,且压土器 48布置在进料斗 44 前壁的下边位置,压土器 48 的旋向和铣刀辊 43 的旋向相反 ;所述铣刀辊43 上均匀分布有复数个铣刀 49 ;所述第一电机 42 驱动铣刀辊 43、破拱叶桨 46、压土器 48工作 ;所述第一输送机 22 的末端位于筒体 41 的入料口 44 上,所述物料搅拌输送装置 3 的进料斗 31 位于所述第一出料口 45 下方,所述车体 1 上架设有一吸附剂投放料斗 5,且该吸附剂投放料斗 5 位于进料斗 44 的上方 ;所述物料搅拌输送装置 3 的出料口 32 下架设有一第二输送机 6,所述第二输送机 6 上设置有一磁分离装置 7 ;所述磁分离装置 7 与物料搅拌输送装置 3 的滚筒壳体之间架设有一吸附剂回收料斗 8。
    其中,在本实用新型中,所述物料搅拌输送装置 3 包括机架 33、滚筒壳体 34、螺旋体 35、速度检测器 36、减速机 37、第二电机 38、进料斗 31 以及出料口 32,所述机架 33 设置于车体 1 上,且支撑滚筒壳体 34,所述螺旋体 35 设于滚筒壳体 34 内,所述速度检测器 36 连接螺旋体 35 一端,所述减速机 37 连接螺旋体 35 另一端,所述第二电机 38 连接减速机 37,所述进料斗 31 设于滚筒壳体 34 的一端,滚筒壳体 34 的另一端开设所述出料口 32。所述螺旋体 35 包括主轴 351 和螺旋叶片 352,所述主轴 351 架设在滚筒壳体 34 内,所述螺旋叶片352 套设于主轴 351 上 ;所述螺旋体 35 的两两带状螺旋叶片 352 之间设置有搅拌棒(未图示)。这样使得土壤和吸附剂搅拌更加均匀,且不会堵塞住滚筒壳体 34,提高了搅拌效率。
    在本实用新型中,所述磁分离装置 7 包括磁辊体 71 和用于支撑磁辊体 71 的支撑架(未图示),所述磁辊体 71 由磁筒 711 和装在磁筒 711 上的若干个磁圈 712 构成,所述磁筒 711 的两端设有法兰 713,所述的磁圈 712 装在两个法兰 713 之间,相邻磁圈 712 之间的磁力面极性相同 ;所述磁筒 711 圆周外表面上间隔设有复数根挡条 714,所述挡条 714 向上延伸有复数个搅拌棍 715。
    2、工作原理如下 :
    土壤输送装置 2 工作时由于车辆的前进而使土壤进入切土铲 21,土壤再经由第一输送机 22 向切土铲 21 后部传送,减少了土壤的运动阻力,避免或减少了物料堆积的情况,物料提升装置 23 将土壤进行上升输送,可以实现将土壤表层 100-300mm 的土壤连续传送到车辆内部的破碎装置 4,破碎装置 4 对土壤进行破碎后置于物料搅拌输送装置 3,所述破碎装置 4 包括 :一外壳 41 和第一电机 42,所述外壳 41 内设置有一铣刀辊 43,该外壳 41 上设有进料斗 44,外壳 41 下方设置有格栅孔筛网出口 45 ;所述进料斗 44 内设置有一破拱叶桨46,该外壳 41 侧壁设有一大石块出料口 47,所述大石块出料口 47 和铣刀辊 43 之间设置有一压土器 48,所述铣刀辊 43 上均匀分布有复数个铣刀 49 ;其能对含石块的土壤进行破碎,通过铣刀辊 43 和压土器 48 的作用能对石块进行排放。同时吸附剂投放料斗 5 投放吸附剂,吸附剂以一定的速率进入物料搅拌输送装置 3,吸附剂和破碎的土壤二者以一定的比例均匀的进入物物料搅拌输送装置 3 进行搅拌,磁性吸附剂和土壤在物料搅拌输送装置 3 中边搅拌混合边向车辆尾部输送,最终在物料搅拌输送装置 3 的尾部落入一第二输送机 6 上,第二输送机6的上方是一磁分离装置7,当混有磁性吸附剂的土壤经第二输送机6送过本体下部时,金属制的搅拌棍 715 可对混合物料进行翻动,使粘结在一起的土壤与吸附剂进一步分离,便于磁辊体 71 对磁性吸附剂的磁吸附,提高分选效率。当行使吸附剂的投放操作时,磁辊体 71 不起作用,混合均匀的吸附剂和土壤经过第二输送机 6 输送到车辆尾部后,直接进入地上,填充被挖走的部分土壤,使土层恢复到原来的高度。当行使吸附剂的回收操作时,启动磁辊体71,磁辊体71以一定的转速旋转,混有吸附剂的土壤通过第二输送机6输送传送到磁筒 711 的下方,磁性吸附剂被吸在磁辊体 71 上,磁辊体 71 旋转到高位后卸料到吸附剂回收料斗 8 内,从而完成修复重金属及有机物污染土壤。

30

装备制造经验

立即免费获取土壤修复方案

为用户提供及时、高效、便捷的服务

在线咨询
AG视讯环境希望与你携手,共创美好未来...
5