行业动态

了解最新公司动态及行业资讯

土壤筛分装置的由来和特征

2018-02-01 08:15:46 155 编辑:admin 来源:本站
       改革开放以来,我国农业生产中广泛采用地膜覆盖种植技术,地膜覆盖农业栽培技术,具有保温,保水,保肥,改善土壤理化性质,提高土壤肥力,抑制杂草生长,减轻病害的作用,在连续降雨的情况下还有降低温度的功能,从而促进植株生长发育,提早开花结果,增加产量,减少劳动力成本等优点,因此一直沿用至今。但是,长期的地膜覆盖栽培技术给农田土壤中积累了大量的塑料残馍,长期的残馍积累会在土壤中形成密集的阻隔层,破坏农田土壤结构,从而影响植物的根系发育和水分吸收,长此以往这种白色污染最终会导致土地污染,耕地荒废。因为农田地中有许多的石头,瓦砾,塑料生活垃圾等杂质不利于农田植物的成长。为了解决上述的问题和古老的人工筛选,这种土壤筛分装置诞生了,由它来代替人工的操作。  
 
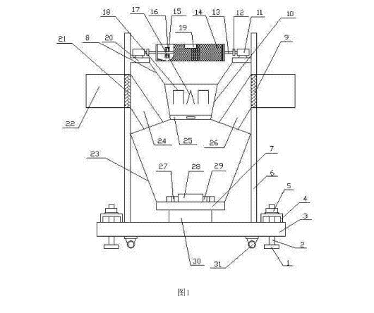
        这种土壤筛分装置包括:支撑底座,支撑底座下表面设置有万向轮,支撑底座两端设置有限位固定件,支撑底座上方设置有支撑立板,支撑横板上设置有滚筛粉碎装置,滚筛粉碎装置下方设置有喇叭状储料槽,支撑底座上表面设置有离心电机,离心电机上方连接旋转底座,旋转底座上设置有筛分箱体,筛分箱体顶部与喇叭状储料槽之间设置有分流装置,筛分箱体顶部两端设置有一级出料管和二级出料管,一级出料管和二级出料管对应的支撑立板上设置有一级筛分网和二级筛分网,一级出料管和二级出料管分别连接存料仓。该装置通过支撑底座的万向轮方便装置进行位置移动,移动到指定位置时通过调节锁紧螺栓实现平稳固定。
   

30

装备制造经验

立即免费获取土壤修复方案

为用户提供及时、高效、便捷的服务

在线咨询
AG视讯环境希望与你携手,共创美好未来...
5