行业动态

了解最新公司动态及行业资讯

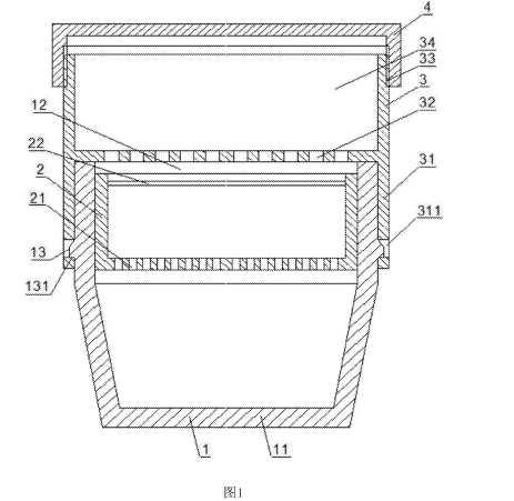
土壤检测用筒式快速土壤筛分器你见过吗

2018-02-09 09:17:05 165 编辑:admin 来源:本站
土壤重金属检测是土壤的常规检测项目之一,采用合理的土壤重金属检测的方法,能快速有效地对土壤重金属检测和污染评价。土壤重金属的检测方法之一般包括离子发射光谱法,目前集中在X射线原子荧光法。由于缺乏成套的适合现场快速分离检测用的土壤前处理装置,在对土壤进行前处理时不同的检测人员采用的工具和操作手法差距比较大,在土壤筛分处理时存在较大的差异。为了克服他的不足。这种新型装置诞生了。
这种新型的土壤检测用筒式快速土壤筛分器,包括一个便携的土壤筛分容器,土壤筛分容器底部为筛分后的土壤样品存储腔,土壤筛分容器的开口中套设有便于更换的筛网环,筛网环一端设有二次筛网、另一端设有便于拔出筛网环的拔取操作杆,土壤筛分容器再连接初级过筛筒,初级过筛筒一端设有能够套设在土壤筛分容器外的套筒,初级过筛筒中部设有初级筛网,初级过筛筒另一端设有螺纹连接口,螺纹连接口连接有密封盖,初级筛网与密封盖之间的初级过筛筒内腔体为待筛分土壤存储腔;本实用新型结构紧凑、便于携带,方便在现场快速分析检测时使用,而且拆卸分离方便,便于清洁冲洗,能够根据不同检测对象进行筛分,有利于提高分析检测精度。
 

30

装备制造经验

立即免费获取土壤修复方案

为用户提供及时、高效、便捷的服务

在线咨询
AG视讯环境希望与你携手,共创美好未来...
5