行业动态

了解最新公司动态及行业资讯

联合工艺土壤修复设备特征和优点

2018-05-05 01:36:45 162 编辑:admin 来源:本站
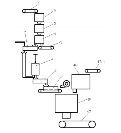
      中国土壤环境状况总体不容乐观,全国土壤污染超标率达16 .1%,在工矿业废弃 地土壤环境问题突出的同时,耕地土壤环境质量更加堪忧;然而现有的土壤修复设备存在 修复过的土壤“沙”化严重,并且营养物也一并被过滤掉了,另外土壤清洗液的回收也存在 残余土渣过多的问题,容易堵塞管道。 为了克服目前技术中存在的一种基于联合工艺 的土壤修复设备,能修复污染土源。 
联合工艺土壤修复设备

      这种联合工艺土壤修复设备包 括土源传送单元、土源破碎单元、铁质材料吸附单元、土源筛分单元、石块传送单元、热挥发 单元、化学清洗沉淀单元、脱水单元、风干单元、粪便传送单元、灭菌除臭单元、土肥混合单 元和修复后土源传送单元;所述土源传送单元的出料端与土源破碎单元的入料端连接;所 述土源破碎单元的出料端与铁质材料吸附单元的入料端连接;所述铁质材料吸附单元的出 料端与土源筛分单元的入料端连接;所述土源筛分单元的石块出料端与石块传送单元的入 料端连接;所述土源筛分单元的泥土出料端与热挥发单元的入料端连接;所述热挥发单元 的出料端与化学清洗沉淀单元的入料端连接;所述化学清洗沉淀单元的出料端与脱水单元 的入料端连接;所述脱水单元的出料端与风干单元的入料端连接;所述粪便传送单元的出 料端与灭菌除臭单元的入料端连接;所述灭菌除臭单元的出料端和风干单元的出料端共同 与土肥混合单元的入料端连接;所述土肥混合单元的出料端与修复后土源传送单元的入料 端连接。

30

装备制造经验

立即免费获取土壤修复方案

为用户提供及时、高效、便捷的服务

在线咨询
AG视讯环境希望与你携手,共创美好未来...
5