行业动态

了解最新公司动态及行业资讯

土壤破碎轴承都有哪些呢

2018-05-17 01:50:16 159 编辑:admin 来源:本站
       随着国家经济技术的发展和人们生活水平的提高,我国基础设施建设也在如火如荼的进行当中。公路建设作为基础设施建设中的重中之重,自然也受到了额外的关注。公路路基施工建设中,为保证基础填方的机构质量复合相关建设设计要求。常需对其填方进行土壤破碎和筛分。因此在施工中采用土壤破碎机。
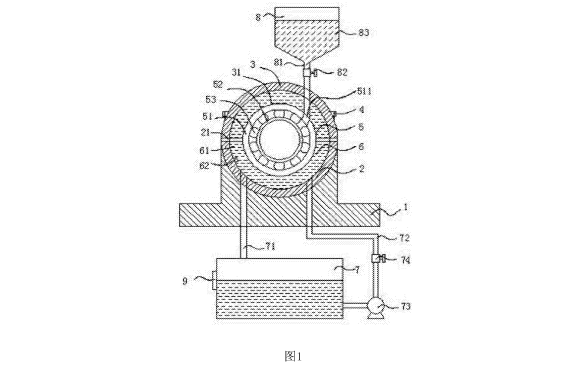
土壤破碎轴承
       土壤破碎机的组合式轴承座,包括底座、第一轴承座、第二轴承座、冷却池和储油漏斗,所述底座上侧固定设置有第一轴承座,所述第一轴承座两端上侧通过螺栓连接有第二轴承座,所述第一轴承座和第二轴承座内部设置有轴承槽,所述轴承槽内卡接有轴承,所述第一轴承座和第二轴承座内部设置有冷却腔,所述冷却池底部和上端分别设置有进液管和出液管,所述进液管和出液管另一端分别于冷却腔连接,此用于土壤破碎机的组合式轴承座,能够快速散发轴承运转时的发热,成本低廉,而且能够自动运行,而且进油管上端连接有储油漏斗,便于对轴承添加润滑油。

30

装备制造经验

立即免费获取土壤修复方案

为用户提供及时、高效、便捷的服务

在线咨询
AG视讯环境希望与你携手,共创美好未来...
5