行业动态

了解最新公司动态及行业资讯

原位土壤热脱附修复

2018-08-21 00:39:27 158 编辑:admin 来源:本站
    随着社会经济的快速发展,土壤污染问题日趋严重,尤其是在城市化工企业搬迁 过程中产生的有机污染尤为突出。其中对于土壤中高沸点且难降解的有机污染物处理比较 困难,目前主要是采用焚烧的方式处理,但是由于这种有机污染物混合于土壤中,需要先进 行分选,然后将其运输至专门的焚烧厂进行焚烧,不但处理效率低,而且比较麻烦。
土壤热脱附 

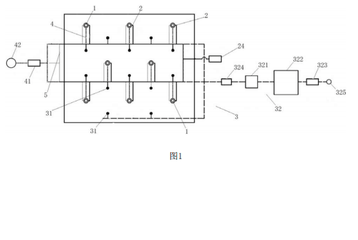
     涉及污染场地修复,提供一种有机污染原位土壤热脱附修复装置,包括可与燃气进管连通的至少一个加热模块、可插入污染土壤内且用于向污染土壤注气的注气管道、可插入污染土壤内且用于抽取污染土壤内挥发产生的污染物的抽气管道以及排出加热模块产生烟气的排烟管道,加热模块与注气管道一一对应,且加热模块包括燃烧组件以及套管组件,燃烧组件连通燃气进管以及套管组件,套管组件至少部分结构伸入对应注气管道内,抽气管道靠近注气管道设置,且排烟管道连通套管组件。本发明的修复装置可以对污染土壤进行原位修复,修复周期短,对污染土壤土质及含水率适应范围广、处理能力大,具有良好的环保效益及社会效益。

30

装备制造经验

立即免费获取土壤修复方案

为用户提供及时、高效、便捷的服务

在线咨询
AG视讯环境希望与你携手,共创美好未来...
5