行业动态

了解最新公司动态及行业资讯

土壤热脱附无害化处理污油泥系统及其处理方法

2018-09-21 00:41:08 208 编辑:admin 来源:本站
       目前,由于油田开发、石油炼制过程、运输、使用、贮存以及含油污水处理等一系列 过程中都会产生含油污泥,含油污泥堆放或填埋占用大量耕地的同时污染周边环境,所产 生的有毒物质会随动植物吸收富集、食物链传递而最终危害人类健康。同时,污油泥中含油 量较高,是废物中的宝贵资源,如果不进行回收,会造成较大的资源浪费。目前,按照国家环 保要求,油田污油泥处理后残渣必须达到石油烃总量≤0 .3%,灰渣浸出液检测无有毒有害 物质及重金属,符合《农用污泥中污染物控制标准》(GB4284-84)中有关规定;单一的采用如 热化学处理、溶剂处理、离心法处理工艺已不能达到其标准要求。 
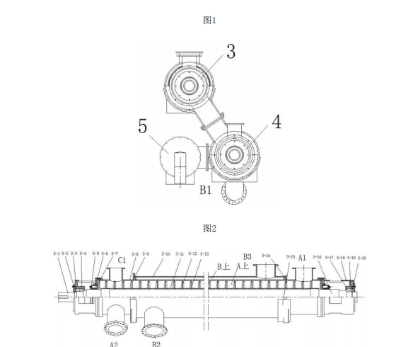
     土壤热脱附技术是处理污油泥的有效技术之一,该技术是通过热脱附装置直接或间接 加热,将污油泥进行热分解处理,使得油泥中水份蒸发,有机物发生热解,挥发成气态的热 脱附气,并将热解气进行冷凝、收集,热脱附不凝气经处理回燃,处理后的灰渣可综合利用。 目前,已有采用热脱附技术对污油泥进行处理,但存在加热炉体分布不合理,热效 率不高,设备复杂,体积庞大,运行成本高,处理规模较小,不便于运输和安装,污油泥存在 二次污染等缺点。 
    一种土壤热脱附无害化处理污油泥系统及其处理方法,该系统能够在负压、绝氧条件下,对含油污泥进行间接加热处理,提高污油泥热脱附效率30%以上,并且便于运输和快速安装。
  AG视讯环境科技有限公司是一家以环境工程应用技术研发为核心、设备加工制造为辅助的高科技公司;公司提供土壤热脱附,土壤热解析,土壤修复设备系统化、专业化的技术解决方案与服务支持团队,帮助客户实现多元化环境改良需求。
 

30

装备制造经验

立即免费获取土壤修复方案

为用户提供及时、高效、便捷的服务

在线咨询
AG视讯环境希望与你携手,共创美好未来...
5