公司动态

了解最新公司动态及行业资讯

农药厂土壤修复用的配药装置

2017-10-10 02:11:20 155 编辑:admin 来源:本站
    随着工业化进程的不断加快,矿产资源的不合理开采及其冶炼排放、长期对土壤进行污水灌溉和污泥施用、人为活动引起的大气沉降、化肥和农药的施用等原因,造成了土壤污染严重,随着科学发展观的深入贯彻落实,国家对环境保护工作越来越重视,对水、大气、土地的污染等监控力度日益加大,节能环保已被列为七大战略性新兴产业之首,其中土壤修复被纳入环保产业的重点发展之列,国家将财政、税收、金融等方面提供政策支持,同时地方政府土壤污染防治意识增强,根据环境管理和土壤污染防治的需要,分别制定了相关配套措施。土壤修复是指利用物理、化学和生物的方法转移、吸收、降解和转化土壤中的污染物,使其浓度降低到可接受水平,或将有毒有害的污染物转化为无害的物质。从根本上说,污染土壤修复的技术原理可包括为:改变污染物在土壤中的存在形态或同土壤的结合方式,降低其在环境中的可迁移性与生物可利用性,降低土壤中有害物质的浓度。
    现在使用化学方法对土壤进行修复非常普遍,配药装置是化学修复方法中的重要步骤,但是配药装置中有时会使用到块状的药物,现有的配药装置都是直接将块状药物直接投入到配药罐内,搅拌装置对配药罐内的药剂进行搅拌,但是这种装置不能快速的配出所需药剂,不能满足土壤修复的急切需求。
    本实用新型要解决的技术问题是克服现有技术的缺陷,提供一种用于农药厂土壤修复用的配药装置,可以有效解决背景技术中的问题。
    1、技术方案:
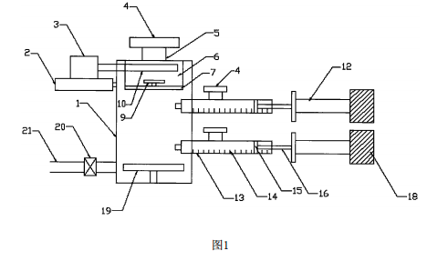
    本实用新型一种用于农药厂土壤修复用的配药装置,包括粉碎槽、粉碎叶片和碾压辊,配药罐内设有所述粉碎槽,所述粉碎槽内设有所述粉碎叶片和所述碾压辊,所述碾压辊的一端穿出所述粉碎槽、所述配药罐和电机连接,所述粉碎槽上设有底板,所述底板上设有小孔,所述配药罐的一侧设有输药管,所述输药管内设有推板,所述推板和推杆连接,所述配药罐底部上设有搅拌装置,所述配药罐的一侧设有输出管,所述输出管上设有阀门。所述电机设置在支撑装置上。所述输药管上设有刻度。所述推杆和机械臂连接,所述机械臂和调速电机连接。所述配药罐的端部和所述输药管上均设有输入口,所述输入口上设有盖板。
    2、有益效果是:
    配药罐内设有粉碎槽,粉碎槽内设有粉碎叶片和碾压辊,碾压辊的一端穿出粉碎槽、配药罐和电机连接,先对块状药品进行碾压,再进行粉碎,通过底板上的小孔进入到配药罐内,配药罐一侧设有输药管,通过输入口将液体药剂加入到输药管内,机械臂带动推杆,从而将药剂推入到配药罐内,配药罐底部设有搅拌装置,对多种药剂进行搅拌均匀,提高配药速度。
    3、附图说明
  农药厂土壤修复用的配药装置结构图
    图1是农药厂土壤修复用的配药装置整体结构示意图;
    图中:1、配药罐;2、支撑装置;3、电机;4、盖板;5、输入口;6、粉碎槽;7、底板;9、粉碎叶片;10、碾压辊;12、机械臂;13、输药管;14、刻度;15、推板;16、推杆;18、调速电机;19、搅拌装置;20、阀门;21、输出管。

30

装备制造经验

立即免费获取土壤修复方案

为用户提供及时、高效、便捷的服务

在线咨询
AG视讯环境希望与你携手,共创美好未来...
5